Das alte neue Snüffelstück
14.07.2005
Gestern auf dem Heimweg, Mühlendamm Ecke Stralauer beim Abbiegen: Will ich losfahren, ziehe am Gas und WLURB - geht der Motor aus. HÄ!? Verdammte Scheisse, sowas hatte ich noch nie. Zum Glück stand ich zwar mitten auf einer riesigen Kreuzung, aber direkt neben einer winzigen Ampel-Verkehrsinsel, auf die das Schwein und ich gerade noch so raufgepasst haben. Wie auf einer umtosten Insel im Meer, nur dass dieses Meer anders gerochen hat. Aber ok.
Das Problem sah so aus: Antreten liess sich das gute Tier problemlos, aber sobald ich Gas gab, ging es sehr präzise und reproduzierbar aus. Kurz ratterte in meinem Kopf der Trommelspeicher mit den bislang erlebten Problemen, aber ich fand keinen vergleichbaren Fall, geschweige denn eine fertige Lösung. Mist. Also Helm ab, Sitzbank auf, Werkzeug raus - danach war die winzige Verkehrsinsel wirklich voll und hätte nicht mal mehr ein Fussgänger noch raufgepasst.

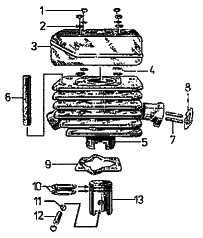
Der Vergaser mit Verschlusschraube (26)
In dieser Enge laborierte ich die Kerze aus dem Zylinder und freute mich schon, wie locker die sass: Da glaubte ich das Problem schon gefunden zu haben, drehte sie raus und wieder fest und probierte erneut - aber nichts, wieder soff er ab beim Gasgeben.
Gut. Die Kerze also nicht. Sprit war drin, der Gaszug bewegte sich störungsfrei und es blieb nur mehr der Vergaser als Schuldiger eines solchen Fehlverhaltens: Denn wenn der Zylinder oder was kaputt gewesen wäre, hätt er im Leerlauf nicht so gleichmässig getuckert.
Nachdem ich das Problem zumindest grob lokalisiert hatte und wusste, dass es von jetzt an vielleicht mühsam, aber jedenfalls lösbar wäre, hob sich meine Stimmung. Freudig legte ich den Vergaser frei, wobei ich mit zwei vorbeischnürenden Schwalbe-Hirten wissendes Grinsen austauschte; die Dinger haben einen überwiegend baugleichen Motor und Vergaser.
Die Plasterollerfahrer betrachteten mich so mitleidig, wie ich sie: Denn die wussten ja gar nicht, wie schön sowas sein kann. Nachdem ich den Vergaser nämlich aufgeschraubt hatte, steigerte sich meine Euphorie noch: Denn nicht würde ich fummelige Düsen ausbauen und durchstochern müssen - sondern lag die sog. Verschlusschraube (in der Darstellung mit "26" gekennzeichnet) nicht etwa sauber verschraubt an ihrem Ort, sondern lose in der Schwimmerkammer. Dort gehört der Schwimmer rein, dazu Benzin und meinetwegen etwas Dreck, aber ganz sicherlich nicht die Verschlusschraube. Problem erkannt, Problem gebannt.
Das ist immer der schönste Moment: Gar nicht mal das Antreten des frisch reparierten Schweins - sondern schon vorher genau der Punkt, da mir irgendein loses Teil, irgendein Fehler ins Auge springt. Der Punkt, ab dem die weitere Vorgehensweise klar und der Weg zur Problemlösung deutlich sichtbar wird. In diesem Augenblick geht stimmungsmässig jedesmal die Sonne auf, obwohl es dort auf der Kreuzung ein höchst beschissener Ort war und zudem regnete. Aber ich hatte ein Problem, einen Lösungsweg und alles benötigte Werkzeug - welche letzteren Punkte dermassen wichtig sind, dass Regen und Kreuzung darob verblassten.
I can see clearly now, the rain is gone,
I can see all obstacles in my way
Gone are the dark clouds that had me blind
It's gonna be a bright, bright Sun-Shiny day
(Bob Marley, "I Can See Clearly")
Also, Vergaser wieder rein. Wenn Sie die letzten Schweinegeschichten gelesen haben, dann wissen Sie, warum der Vergaser besonders fest angeschraubt werden muss; was mir aber nicht gelang. SCHEISSE - so kurz vor dem Ziel! Und dann auch noch sowas: Denn eine Schraube, die man nicht festdrehen kann - ist idR verkriesknaddelt. Es handelte sich leider um keine normalen Schrauben, sondern um fest mit dem Zylinder verbundene Stehbolzen, die ich nicht einfach so aus dem Handvorrat würde ersetzen können.
Meine Euphorie schlug ins Gegenteil um, aber nur kurz.
Bis ich wiederum an den Punkt gelangte, da die Lösung sichtbar wurde: Nämlich beim ratlosen Lösen der Mutter fiel mir auf, dass sich der Stehbolzen mitdrehte. - Das durfte nicht sein; denn dieser Bolzen guckte sonst nirgendwo raus und liess sich nicht mal eben so kontern.

Der Zylinder mit Stehbolzen (7)
Ich dachte mir aber: Wenn er locker ist und sich rausdreht - drehst du ihn solange wieder rein, bis er fest ist oder auf der anderen Seite rauskommt. Wird er fest, ist es gut; und kommt er auf der anderen Seite raus, kannst du ihn kontern.
Zum Glück umfasst mein Werkzeugsatz auch eine KNIPEX Alligator, die mit ihren ganzen 18 cm enorm handlich ist, ihrem Namen aber alle Ehre macht und nichts freigibt, was sie einmal zwischen den Kiefern hat. So auch nicht diesen Stehbolzen: Nach ein paar Umdrehungen sass er so gewaltig fest, dass er eigentlich schon wieder ab hätte sein müssen.
Vergaser festgezogen, Schock und Gaszug rein, Benzischschlauch ran (WICHTIG! spart enorm), draufgetreten - und röpplöpplöpp ging er an. Doch das war es ja noch nicht; mit äusserster Anspannung und bangem Erwarten zog ich am Gasgriff, jeden Moment mit dem Absauf-Geräusch rechnend - und wie froh war ich, als das Schwein mit dem Rüssel wackelte und die wiedergewonnene Drehfreude des kleinen Zweitakters sich in den höchsten Tönen äusserte.
War das ein schönes Geräusch.
Hach, mein gutes Schwein! Ist es schon wieder ganz das alte und benimmt sich genau so, wie ich es kenne: Freudig läuft es und trägt mich überall hin, bockt manchmal etwas rum und ist nach ein paar kleinen Streicheleinheiten aber wieder vollends zufriedengestellt. Nur saufen wollte es dann an der Oberbaumbrücke nochmal, aber war so nett, mir das hundert Meter von der Tanke zu sagen.
Ja, und dann die 6,40 für einmal vollaufen lassen. Tolles Schwein, wirklich.
© alle Rechte vorbehalten